亦为管车系统介绍
系统介绍
主要功能
版本介绍
操作流程
新手指南
管理员登录方式
如何创建账号
司机登录方式
如何添加车辆
如何添加客户
如何添加租赁方案
如何添加订单
如何添加合同
如何生成账单
如何签约收款
如何添加车务信息
系统管理
配置管理
车辆管理
车管工作台
车辆列表
验车车辆
出险记录
投保记录
保养记录
年检记录
维修记录
违章记录
延期记录
车型管理
退车管理
换车管理
GPS管理
指标管理
车辆数据初始化
数字管车设备
车辆星级
销售管理
销售方案
订车管理
合同列表
销售费用
客户管理
客户列表
交流记录
投诉建议
司机积分
推荐记录
标签管理
财务管理
收款管理
签约收款
订金收款
付款管理
收款账户
费用类型
积分抵扣
小桔代扣
风控管理
风控收车
车辆风险
客户风险
违章车辆
风控看板
风控锁车
日志管理
操作日志
导出日志
导入日志
接口日志
系统日志
运营报表
老板看板
资产报表
运营统计
逾期统计
收款统计
本文档使用 MrDoc 发布
-
+
首页
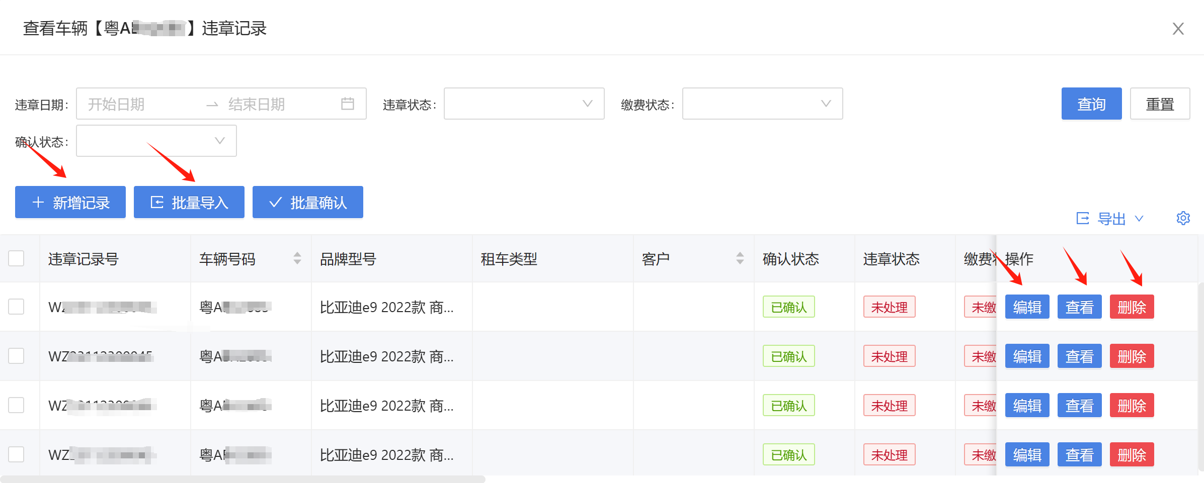
违章车辆
违章车辆模块用于对出现违章的车辆进行管理,支持查看/编辑/删除车辆的违章明细、为车辆新增违章记录和通过下载模板填写批量导入违章记录,以及为客户发送短信通知。  点击“查看明细”可通过筛选查询车辆的违章明细    微信小程序可以从快捷入口进入违章车辆对高风险违章车辆进行查看和操作。    
liulinyue
2023年12月8日 18:49
转发文档
收藏文档
上一篇
下一篇
手机扫码
复制链接
手机扫一扫转发分享
复制链接
Markdown文件
分享
链接
类型
密码
更新密码