亦为管车系统介绍
系统介绍
主要功能
版本介绍
操作流程
新手指南
管理员登录方式
如何创建账号
司机登录方式
如何添加车辆
如何添加客户
如何添加租赁方案
如何添加订单
如何添加合同
如何生成账单
如何签约收款
如何添加车务信息
系统管理
配置管理
车辆管理
车管工作台
车辆列表
验车车辆
出险记录
投保记录
保养记录
年检记录
维修记录
违章记录
延期记录
车型管理
退车管理
换车管理
GPS管理
指标管理
车辆数据初始化
数字管车设备
车辆星级
销售管理
销售方案
订车管理
合同列表
销售费用
客户管理
客户列表
交流记录
投诉建议
司机积分
推荐记录
标签管理
财务管理
收款管理
签约收款
订金收款
付款管理
收款账户
费用类型
积分抵扣
小桔代扣
风控管理
风控收车
车辆风险
客户风险
违章车辆
风控看板
风控锁车
日志管理
操作日志
导出日志
导入日志
接口日志
系统日志
运营报表
老板看板
资产报表
运营统计
逾期统计
收款统计
本文档使用 MrDoc 发布
-
+
首页
合同列表
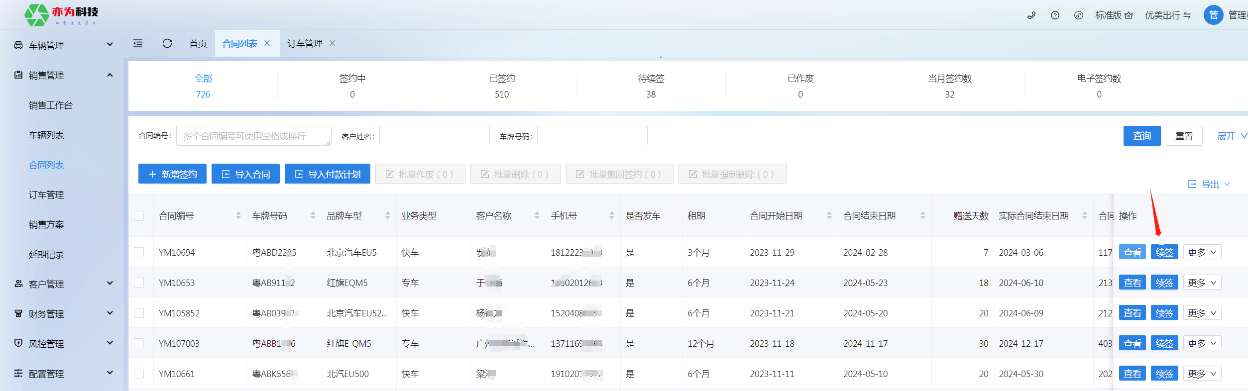
合同列表用于查看和记录签约的合同信息,支持勾选合同进行批量操作。支持批量导入合同。  (1)新增签约  如客户已存在订车单则会提示相应订单信息  (2)查看签约  (3)续签合同    **一定要核对费用项目及账单!!!** (4)电子签约 在开通电子签约权限、配置合同模版、进行账户充值后可与司机在法大大进行电子签约    甲方签章后可将二维码或签署链接发送给司机进行签约,司机首次签约需通过手机号码进行认证,签约时所填写的验证码将发送到此手机号码,若司机更换手机号码,可点击‘重新认证’通过二维码用新的手机号码认证  签约成功后可将合同归档   微信小程序可通过快捷入口的合同列表进入。    有进行电子签约的合同可点击合同详情页在手机预览合同文件,并可保存到手机 
ailsa
2024年6月11日 10:56
转发文档
收藏文档
上一篇
下一篇
手机扫码
复制链接
手机扫一扫转发分享
复制链接
Markdown文件
分享
链接
类型
密码
更新密码